消费者投诉:承诺无法兑现 多花不少冤枉钱
消费日报网讯(记者 王鑫坤)近日,黑猫投诉平台上出现一则集体投诉引发关注,多位消费者称,其曾在洛阳汇阳之星奔驰4S店购买车辆时,被强制捆绑销售“18次基础保养+3年延保”套餐,并被承诺称“可在全国任意授权奔驰4S店使用”“享受全国范围厂家质保服务”“会进入北京奔驰官方系统备案”。然而,近期北京奔驰取消了相关4S店的授权资质,致使上述承诺均无法实现,导致消费者权益受损。

图为黑猫投诉平台上相关集体投诉信息
车主:剩余权益无法兑现 官方做法难以服众
“我是在2023年于洛阳汇阳之星奔驰4S店购买的车辆,由于没有收到奔驰官方的通知,近期在网上刷到了奔驰取消其授权的消息,才得知当时购车强制绑定的‘双保’套餐权益无法享受了。”河南省济源市的车主李先生告诉记者,他的遭遇并非个例,其所在的微信维权群中有近百位消费者被强制绑定销售了“18次基础保养+3年延保”的套餐。据了解,根据不同的车型,汇阳之星提供的相关“双保”套餐价位也存在差异,分别在12000元—15000元不等。
值得注意的是,上述消费者们几乎是刚享受到套餐权益便被剥夺了。以“18次基础保养”为例,迄今为止,许多车主仅消耗过一到两次。更让李先生感到气愤的是,突然取消授权,可能会让消费者蒙受一定经济损失,“当时买的车,刚使用一年就出现了严重的机械故障,连发动机都给拆了。正常保修是3年,如果失去了3年延保,假如再出现发动机故障,我便需要花费一万到两万元去维修故障。”

图为相关集体投诉中所涉及的主要奔驰车型
与李先生不同,另一位家住河南省洛阳市的车主此前收到了奔驰官方的通知,并获悉无法将“双保”套餐权益转移到其他门店。“前期你花的钱不算,到新的店必需要重新购买保养权益。”他表示,“当时买车的时候不知道经销商和奔驰不是一回事,也想不到会出现这种情况。经销商卖这个权益,奔驰究竟知不知道?经销商已经收了这么多钱,突然取消权益肯定是不合理的,吃亏的都是消费者。”
经销商:运营存在多项风险 无权强制捆绑销售套餐
记者从消费者处得知,奔驰于今年7月底取消了洛阳汇阳之星奔驰4S店的授权,为何会如此突然呢?
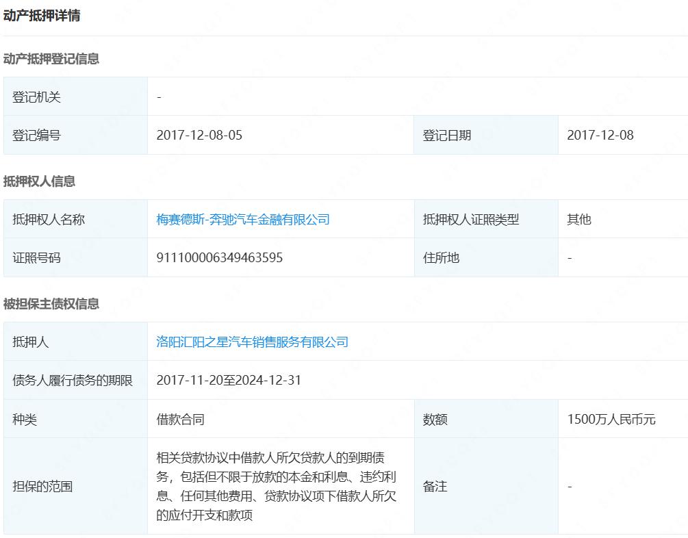
值得关注的是,隶属于广汇汽车集团的洛阳汇阳之星汽车销售服务有限公司,近年来风险信息频出,现已陷入经营异常状态。据企查查信息显示,该公司早在2017年便与梅赛德斯-奔驰汽车金融有限公司进行过动产质押,被担保债权数额达1500万元;该公司于2019年及2020年曾分别因“未开具发票”“广告含有法律、行政法规规定禁止的其他情形”被有关部门处以行政处罚;该公司在今年7月21日,也被国家税务总局洛阳市税务局披露欠增值税2,243,670.88元及城市维护建设税95,694.98元。

图为企查查平台所示汇阳之星与奔驰的动产抵押详情
那么,明显存在运营方风险的上述经销商是否有权力强制绑定销售相关套餐并有能力对消费者作出如上承诺呢?
《中华人民共和国消费者权益保护法》第九条规定,消费者享有自主选择商品或者服务的权利。广州眺远营销咨询公司总监高承飞也认为:“即便授权未撤销,相关4S店也无权以强制搭售方式捆绑保养延保。商务部在2022年的处罚案例中亦将‘保养套餐’列为违规收费。至于‘全国通用’等承诺,尽管技术层面确可兑现,但4S店并未取得奔驰书面授权作出该表述,属于单方过度承诺,不受厂家保障。”
奔驰官方:会第一时间处理问题 车主需核实套餐提供方
记者了解到,作为行业知名品牌,拥有百年历史的奔驰多年来积累了一批批忠实用户。但据懂车帝最新数据,奔驰7月在华零售量仅为26653辆,环比下降超40%,不仅创下了近5年的销量新低,还首次跌破了2.7万辆关口。近年来,奔驰相关的各类消费投诉不断涌现,使其长期处于行业风口浪尖。据公开信息显示,仅在2025年4月—6月奔驰便因质量问题召回11次产品;在黑猫投诉平台上,奔驰所涉及相关投诉量达3146条,且近30天内投诉处理完成率为0%。

图为梅赛德斯-奔驰官网公告所示部分车辆产品召回信息
为核实上述投诉信息、反馈消费者的投诉问题,记者于8月17日致电了梅赛德斯-奔驰官方客服中心。客服人员表示,车主的问题会第一时间进行解答,但维权的消费者需要提供真实的姓名、电话、车辆型号、车架号等信息,现阶段政策为:如果车主在店内购买的是奔驰原厂的保养服务套餐,不管是购买还是赠送的,可以去到全国任意一家奔驰授权经销商使用;如果购买或赠送的套餐是广汇集团的,需要联系广汇集团热线0379-6508-6789进行沟通协商。
对此,高承飞谈到:“客服‘找经销商’的答复实质是转嫁责任。厂家授权即构成表见代理,奔驰对经销商的销售与售后行为负有选任、培训、巡视义务,授权期间未尽监督即为过错,须承担连带责任。参考《民法典》第一千一百九十八条,奔驰应在先行赔付后向原经销商追偿,而非让消费者‘两地奔波’。”
记者调查发现,奔驰取消经销商授权致使车主权益受损的类似事情其实时有发生,似乎已成为行业的普遍现象。高承飞补充道:“如今,车企普遍会将售后利润前置化,以‘高毛利套餐’补贴价格战,虽然短期内能够拉升成交率与现金流,但在长期却会稀释品牌信任,增加监管与舆情成本。”未来,所有失去“双保”套餐权益的车主们诉求能否得到回应?梅赛德斯-奔驰后续又是否会进一步推出其他应对措施,以维护消费者的权益?本报将持续进行关注。
消费日报网版权及免责声明:
1. 凡本网注明“来源:消费日报网” 的所有作品,版权均属于消费日报网。如转载,须注明“来源:消费日报网”。违反上述声明者,本网将追究其相关法律责任。
2. 凡本网注明 “来源:XXX(非消费日报网)” 的作品,均转载自其它媒体,转载目的在于传递更多信息,并不代表本网赞同其观点和对其真实性负责。
3. 任何单位或个人认为消费日报网的内容可能涉嫌侵犯其合法权益,应及时向消费日报网书面反馈,并提供相关证明材料和理由,本网站在收到上述文件并审核后,会采取相应措施。
4. 消费日报网对于任何包含、经由链接、下载或其它途径所获得的有关本网站的任何内容、信息或广告,不声明或保证其正确性或可靠性。用户自行承担使用本网站的风险。
5. 基于技术和不可预见的原因而导致的服务中断,或者因用户的非法操作而造成的损失,消费日报网不负责任。
6. 如因版权和其它问题需要同本网联系的,请在文章刊发后30日内进行。
7. 联系邮箱:xfrbw218@163.com  电话:010-67637706